"Пахта ва бошқа экинлар ҳосилини йиғиштириш машиналари" секцияси


Асосий илмий йўналишлар:

- пахта етиштирувчи турли минтақалар учун далаларни тайёрлаш ва очилган пахтани териб олувчи замонавий ресурстежамкор технологиялар ва техник воситаларни яратиш;

- ишлаб чиқарилаётган тик шпинделли пахта териш машиналарининг терим тўлиқлигини ва пахтанинг сифат кўрсаткичларини ҳамда пахта териш агрегатларининг иш унумдорлигини ва ишининг барқарорлигини оширишга йўналтирилган узел ва механизмларнинг схемаларини ва ўлчамларини асослаш бўйича илмий-тадқиқотлар ўтказиш;

- пахта етиштирувчи хўжаликларга пахта териш машиналарини терим мавсумига тайёрлашда амалий ёрдам кўрсатиш;

- юқори малакали машина операторлари тайёрлаш бўйича семинарлар ўтказиш;

- пахта териш машиналарининг ишини, далаларда иш режимларига, терилаётган пахтанинг сон ва сифат кўрсаткичларини таъминлаган ҳолда терим технологиясига риоя қилишни, бутун терим жараёнини мақбул усулда ташкил этишни доимий мониторинг қилиш;

- илмий ҳажмдор маҳсулотларни буюртмачига топшириш;

- ишлаб чиқарилган ишланмаларни амалиётга тадбиқ этиш бўйича муаллифлик назоратини амалга ошириш.


Лаборатория ходимларининг рўйхати

  • Усаров Садулла – лаборатория раҳбари, т.ф.н., к.и.х.;
  • Ахмаджанов Бахтияр Турдалиевич – техник;
  • Адилжанова Руза Абдулхамитовна – техник-лаборант.


Ҳозирги вақтдаги лаборатория фаолияти

2015-2021 йиллар давомида лаборатория ходимлари томонидан қуйидаги лойиҳалар бўйича И.Т.И.лари бажарилган:

1. КХИ-2-002-2015 “Тик шпинделли пахта териш машиналари учун шпинделларни ювиш ва тозалаш тизимининг макет нусхасини тайёрлаш ва ишлаб чиқаришга тадбиқ этиш” (Изготовление макетного образца системы обмыва и очистки шпинделей для вертикально-шпиндельных хлопкоуборочных машин и внедрение в производство) инновацион лойиҳаси бўйича:

Ишлаб чиқилган тракторнинг пневмотизимидан фойдаланилган ҳолда қўшимча сув насоси ва унинг юритмасини ишлатмайдиган шпинделларни ювиш ва тозалаш тизими пахта териш машинаси ишининг барқарорлигини бутун иш сменаси давомида сақлайди.

Пахта териш машинасини яратилган шпинделларни ювиш ва тозалаш тизими билан жиҳозлаш шпинделларни ювиб тозалашга кетадиган кунлик иш вақтининг қўшимча сарфини камайтиради ва шу билан пахта териш машинасининг иш унумдорлигини оширади.

Таклиф этилаётган пахта териш машинаси технологик иш жараёнининг самарадорлиги терилган пахтанинг миқдори ва сифатини ортиши ҳисобига 80,8 минг. сўм/hа ни, тажриба машинасини ишлатишдан олинган умумий иқтисодий самара 159,4 минг.сўм/hа ни ташкил этади.

2. КХИ-2-003-2016 «Тик шпинделли пахта териш аппарати учун пахтани ерга тўкилишини камайтирувчи қурилманинг тажриба нусхасини тайёрлаш ва синаш» (Изготовление и испытание опытного образца устройства для снижения потерь хлопка на землю к вертикально-шпиндельному хлопкоуборочному аппарату) инновацион лойиҳаси бўйича:

Пахтани ерга тўкилишини камайтириш пахта териш машинасининг иш жараёнида олдинги шпинделли барабанларда жойлашган, қайтиб чиқаётган пахтани йиғиб олувчи қурилмани ишлатиш орқали амалга оширилди. У терим аппаратининг технологик схемасини мураккаблаштирмайди ва унинг барча конструктив ва кинематик ўлчамларини ўзгаришсиз сақлайди.

Пахта териш машинасининг ишлаб чиқилган қайтиб чиқаётган пахтани йиғиб олувчи қурилма билан жиҳозлаш пахта терими тўлиқлигини бир теримда ўртача 2,85% га, икки теримда – 3,83% га ошириш имконини берди, бу ўсишлар ғўза тупига яхши ишлов бериш ва пахтани ерга тўкилишини камайтириш ҳисобига эришилди.

3. КА-3-002-2016 “Замонавий пахта териш машиналари билан пахта ҳосилини йиғиб олишнинг юқори самарадор технологиясини ишлаб чиқиш” (Разработка высокоэффективной технологии уборки урожая хлопка-сырца современными хлопкоуборочными машинами) амалий лойиҳаси бўйича:

Пахта ҳосилини кўсакларнинг очилиши юқори бўлганда териш мавжуд пахта териш машиналари иш унумдорлигини оширишнинг энг самарали усулларидан эканлиги аниқланган. Бу ҳолда терим учун сарфланадиган қўшимча ҳаражатлар камаяди ва пахта терими нархини сезиларли камайтириш мумкин. Шу билан бирга ғўза дефолияцияси ва машина теримининг мақбул муддатлари пахта толаси ва ипнинг хусусиятларини комплекс тақдиқ этиш асосида аниқланиши керак. Очилган пахтанинг бир марта машина терими кўриб чиқилаётган пахта териш технологияларига нисбатан энг юқори даромад олишга имкон беради. Бу кўсакларнинг очилиши юқори бўлганда терилаётган пахтанинг миқдорини ошиши билан боғлиқ.

Кўсакларнинг очилиши ошиши пахта териш машинасининг терим тўлиқлигини кўсаклар очилиши 56% ва 75% бўлганда биринчи теримда 73,7% дан 81,7% гача, кўсаклар очилиши 88,0% бўлганда – 88,58% гача кўпайишини таъминлайди.

4. И-ҚХ-2017-5-2 инновацион лойиҳаси бўйича «Вертикал шпинделли пахта териш машинаси ишининг сифати ва барқарорлигини оширувчи қурилма ва мосламаларнинг тажриба нусҳаларини тайёрлаш ва синаш» (Изготовление и испытание опытных образцов устройств и приспособлений, повышающих качество и стабильность работы вертикально-шпиндельной хлопкоуборочной машины).

Илмий тадқиқотларни бажариш жараёнида вертикал шпинделли пахта териш аппаратининг кириш шчитокларига қўшимча йўналтиргичларни ўрнатиш ҳисобига назорат аппарати – серияли аппаратга нисбатан терим тўлиқлиги 1,7...2,0% га ошиши; “қайтиб чиқувчи” пахтани йиғиб олувчи қурилма билан жиҳозланган пахта териш машинасининг терим тўлиқлиги серияли машинанинг бир теримдаги иш кўрсаткичидан 2,33% га кўплиги, шу вақтда пахтани ерга тўкилиши 1,57% га камайиши, икки теримда терим тўлиқлиги “қайтиб чиқувчи” пахтани йиғиб олиш, асосан пахтани ерга тўкилишини камайтириш ҳисобига 2,21% га ошиши; андозаловчи қурилмали машина пахтани териб олгандан кейин тупларда 6,15% пахта терилмай қолиши, қатор юзаларини андазоловчи қурилмасиз машина (назорат) ўтгандан кейин эса тупларда 7,63% терилмай қолиши, бу эса андазаловчи қурилма билан жиҳозланган машинаникидан 1,48% га кўплиги, шу билан бирга машинанинг умумий терим тўлиқлиги 2,68% га ошганлиги аниқланди.

5. МВ-Атех-2018-92+БВ-Атех-2018-13 (2018-2020 йиллар) «Юқори техник кўрсаткичли 60 см қатор оралиғи учун тўрт қаторли ярим тиркамали вертикал шпинделли пахта териш машинасини ишлаб чиқиш (бир терим учун мослашган)» (Разработка четырехрядной полуприцепной вертикально-шпиндельной хлопкоуборочной машины с повышенными техническими показателями для междурядий 60 см (разовый сбор хлопка)) амалий лойиҳа бўйича ишлар олиб борилди. Бу лойиҳада бош бажарувчи МЧЖ "Қишлоқ хўжалиги машинасозлиги конструкторлик технологик маркази", ҳамбажарувчилар эса ҚХМИТИ, УзФА М ва ИСМИ, ТашДТУ, ҚК Агрохим МЧЖ ва ТТСМдир.

Лабораториямиз томонидан бажарилаётган лойиҳанинг номи «Кўсаклар очилиши юқори бўлганда пахтани бир теримда териб олиш технологиясини ва терим аппаратини такомиллаштириш» (Усовершенствование технологии и уборочного аппарата для разовой уборки хлопка при повышенном раскрытии коробочек хлопчатника).

Лойиҳа қишлоқ хўжалигининг долзарб масаласи − очилган пахта ҳосилини териб олишни қисқа муддатларда тугаллашга, пахтанинг ерга тўкилишини камайтиришга, яъни пахта ҳосилини териб олишнинг механизациялаш даражасини оширишга йўналтирилган.

Такомиллаштирилган пахтани териш технологиясини қўллаш териш даврини 12-15 кунга қисқартириш ва далани ҳосилдан эртароқ бўшатиб бериш имконини беради. Машинанинг йиллик юкланиши ва иш ҳажмининг ошиши эксплуатацион сарфларни сезиларли камайтириш имконини беради, бу эса ишлатиш соҳасида катта иқтисодий самара беради. Модернизацияланган вертикал шпинделли пахта териш аппаратини ишлаб чиқиш унинг сифат кўрсатгичларини (терим тўлиқлигини 2,5-3,0% га, иш унумини 10-12% га) ва эксплуатацион-технологик кўрсатгичларини ошириш имконини яратади.


Монографиялар, китоблар, рисолалар, қўлланмалар, тавсиялар

                         


Ихтиро ва патентлар

                     


Пахта териш машинаси учун лабораторияда ишлаб чиқилган
қурилма ва мосламалар


1. Тик шпинделли пахта териш аппарати учун пахтани
ерга тўкилишини камайтирувчи қурилма

(Фойдали модель учун патент № FAP 00976)

Такомиллаштирилган терим аппаратининг технологик схемаси:
1–тупкўтаргич; 2–қия шчиток; 3–шпиндел юритмаси; 4–шпиндел; 5–қисувчи барабан; 6–олдинги шпинделли барабан; 7-15–аппарат қисмлари; 16–ажратгич; 17–қабул камераси

Ён дарчали қабул камерасини териш аппаратига ўрнатиш схемаси:
1–кабул камераси; 2–камера таги; 3–тескари айлантириш юритмаси; 4–ажратгич; 5–янги устун; 7–олдинги тўсиқ; 8–шпинделлар юритмаси; 9–шпиндел; 10–қисувчи барабан; 11–шпинделли барабан; 12–қия шчиток

Ён дарчали қабул камераси

Қабул камерали териш аппарати

Пахта териш машинасининг умумий кўриниши

Пахтаси такомиллаштирилган аппарат билан терилган қаторлар


Асосий ўлчамлари

- Ён дарчанинг кенглиги: 112 мм.
- Ён дарчанинг баландлиги: 117 мм.
- Қия шчитокнинг ўрнатилиш бурчаги: 45°.

Олдинги шпинделли барабанлардаги пахтани ерга тўкилишини камайтирувчи қурилма пахтани ерга тўкилишини 1,5-2,0% га камайтиради, бу эса терим тўлиқлигини оширади. Иш унумдорлигини 14% га оширади, ҳаражатлар сарфини 12% га камайтиради, иқтисодий самарадорлиги 95000 сўм/га.

Ишлаб чиқарилаётган МХ-1,8 пахта териш машинасини жиҳозлаш тавсия этилади.


2. Тик шпинделли пахта териш машинаси учун шпинделларни
ювиш ва тозалаш тизими

(Фойдали модель учун патент № FAP 00993)

Пахта териш машинаси

Ювиш-тозалаш тизимининг асосий узеллари

Тик шпинделли пахта териш машинасининг шпинделларни ювиш ва тозалаш тизимининг схемаси:
1–сув баки; 2–компрессор; 3–босим ростловчи; 4–ресивер; 5–тўкиш крани; 6–герметик идиш; 7–тўлғизиш крани; 8–назорат крани; 9,14–манометр; 10–назорат клапани; 11–тўкиш тиқини; 12–беркитувчи кран; 13–тарқатувчи; 15–пуркагич; 16–териш аппарати

Орқа шпинделли барабанларни ювиш

Олдинги шпинделли барабанларни ювиш

Асосий техник тавсифи

Тури: ПТМга ўрнатиладиган.
Асосий бакнинг ҳажми: 140 л.
Герметик бакнинг ҳажми: 20 л.
Пуркагичлар сони: 4 дона.
Тизимдаги босим: 1,0-1,5 кг/см2.
Бир ювиш учун бир пуркагичга сув сарфи: 3,5-4,0 л.
Ишнинг давомийлиги: 3 мин.

Иқтисодий самарадорлиги

Шпинделларни ювиш ва тозалаш учун кунлик иш вақтининг қўшимча сарфини камайтириш пахта териш машинасининг иш унумини 14,8% га ошириш, меҳнат сарфини 12,9% га камайтириш имконини беради. Иқтисодий самарадорлик 87,2 минг сўм/га.


3. Пахта териш машинаси учун қаторлар юзасини
андозалаш қурилмаси

Андозалаш қурилмасининг технологик тузилиши:
1–туп кўтаргич; 2,5–тортқилар тизими; 3–терим аппарати; 4–рычагли вал; 6–гидроқулф; 7–гидроцилиндр; 8–тракторнинг гидротақсимлагичи; 9–гидротақсимлагич; 10–андозалаш диски

Пахта териш машинаси андозалаш қурилмасининг схемаси:
1– андозалаш диски; 2–туп кўтаргич; 3–рычаглар ва тортқилар тизими; 4–гидроцилиндр; 5–аппаратлар осмаси; 6–гидрокулф; 7–золотник; 8–тескари клапан; 9–аппарат

Андозаловчи дискли туп кўтаргич:
1–қобиқ; 2–кронштейн; 3–юқори шатун; 4–пастки шатун; 5–ўқ; 6–шплинт; 7–андозоловчи диск

Андозалаш дискининг қаторларга нисбатан жойлашиш схемаси

Андозаловчи қурилмали терим аппарати

Андозаловчи қурилмали пахта териш машинаси билан терилган қаторлар

Асосий техник тавсифи

Гидротизимдан ўтаётган мой оқимининг хажми: 45 л/мин.
Гидротизимдаги мой оқимини тўсиш кенглиги: 4 мм.
Гидротизимнинг сезгирлик зонаси: 30 мм.

Самарадорлиги

Автоматик андозалаш (копирлаш) қурилмаси қатор пушталари юзаларини сифатли андозалаш (копирлаш) орқали пастки ярусдаги пахталарга ишлов бериш жараёнини яхшилагани сабабли пахта териш машинасининг агротехник кўрсаткичларини 2,0-2,5 фоизга ошириш имконини беради. Механик-ҳайдовчига қулай иш шароити яратади.


4. Пахта териш аппаратининг кириш шчитоклари
учун йўналтирувчи элементлар

Кириш шчитокининг йўналтирувчи элементи:
1–йўналтирувчи элемент; 2–махкамловчи планка

Йўналтирувчининг кириш шчитогида жойлашуви:
1–туп кўтаргич; 2–кириш шчитоги; 3–йўналтирувчи; 4–шпинделли барабан; 5–шпиндел; 6–кўтаргичлар

Териш аппаратининг умумий кўриниши:
1–йўналтирувчи; 2–кириш шчитоги

Кириш шчитогида ўрнатилган йўналтиргичлар

Асосий ўлчамлари

Ўрнатиш бурчаги: 10-15°.
Жойлашув оралиғи: 90 мм.
Элементнинг шакли: пирамидасимон.

Иқтисодий самарадорлиги

Пассив туп йўналтиргичлар ғўза тупларига шакл беришни ва уларни иш тирқишига йўналтиришни яхшилаши натижасида териш аппарати билан тупларга сифатли ишлов берилади ва терим тўлиқлиги 1,5-1,8 фоизга ошади.

МХ-1,8 пахта териш машиналарида қўллаш тавсия этилади.


5. Пахтанинг бир марта терадиган МХ-2,4 пахта териш машинаси

МХ-2,4 машинаси дала синовларида

МХ-2,4 пахта териш машинасининг тажриба нусхаси

Пахтани бир марта териш схемаси:
а – пахтанинг дастлабки терими;
б – пахтанинг асосий терими

Пахтанинг бир марта теримида
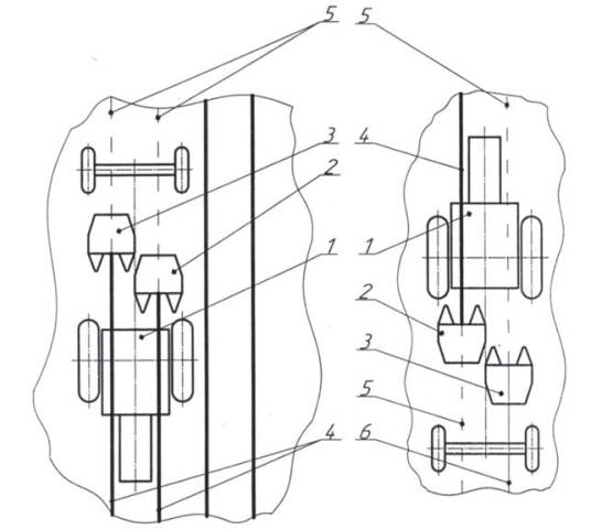
4-қаторли пахта териш машинасининг харакатланиш схемаси

Терим аппаратининг иш режимлари (МХ-2,4)

Дастлабки ўтишда:
Шпинделли барабанларнинг айланиш частотаси, nб, мин-1 ........... 112
Машинанинг харакат тезлиги, Vм, м/с ............................................. 1,05
Биринчи жуфт барабанларининг илгарилаши, К1 .......................... 1,63
Иккинчи жуфт барабанларининг илгарилиши, К2 ......................... 1,86
Олдинги жуфт барабанлар орасидаги иш тирқиши, В1, мм ............. 39
Орқа жуфт барабанлар орасидаги иш тирқиши В2, мм ................ 30,28
Барабанлардаги шпинделлар сони ...................................................... 14

Асосий ўтишда:
Шпинделли барабанларнинг айланиш частотаси, nб, мин-1 ........... 126
Машинанинг харакат тезлиги, Vм, м/с ............................................. 1,39
Биринчи жуфт барабанларининг илгарилаши, К1 .......................... 1,39

Иқтисодий самарадорлиги

60 см қатор оралиғида пахта ҳосилини териш муаммоси ечилади, пахта машинанинг бир ўтишида териб олинади, терим муддатлари 12-15 кунга қисқаради, машинанинг терим тўлиқлиги 2,0-2,5 % га кўпаяди, иш унуми 15 % га ошади, иқтисодий самара 620 000 сум/га ни ташкил этади.

Кўплаб ишлаб чиқаришга тавсия этилади.


2017-2021 йилларда нашр этилган мақолаллар

1. Ташболтаев М.Т., Усаров С. А.Н.Михайловский. Пахта далаларини машина теримига тайёрлаш ва теримни сифатли ўтказишга доир тавсиялар. – Тошкент, ТҚХТЗ, 2017. – 60 б.

2. Михайловский А.Н., Усаров С. О работе хлопкоуборочного аппарата с 14-ти шпиндельными барабанами. “Фан-техника, таьлим ва технологиялар: долзарб муаммолар ва ривожланиш тенденциялари” мавзусидаги илмий-техник анжумани материаллари тўплами (2-қисм). –Джизак, 2017. – Б. 207-210.

3. А.Н.Михайловский, С.Усаров. О возможности совершенствования хлопкоуборочных машин. “Фан-техника, таьлим ва технологиялар: долзарб муаммолар” мавзусидаги илмий-техник анжумани материаллари тўплами (2-қисм). – Джизак, 2017. – Б. 203-206.

4. С.Усаров, А.Н.Михайловский. Результаты и направления НИР по совершенствованию хлопкоуборочных машин. “Юқори самарали қишлоқ хўжалик машиналарини яратиш ва улардан фойдаланиш даражасини ошириш” республика илмий-амалий конференцияси илмий мақолалар тўплами. – Гулбаҳор, 2017. – Б. 205-209.

5. С.Усаров, А.Н.Михайловский. Эффективность работы хлопкоуборочного аппарата с гидрокопиром. “Юқори самарали қишлоқ хўжалик машиналарини яратиш ва улардан фойдаланиш даражасини ошириш” республика илмий-амалий конференцияси илмий мақолалар тўплами. – Гулбаҳор, 2017. – Б. 213-217.

6. С.Усаров, А.Н.Михайловский. Тик шпинделли пахта териш аппаратини такомиллаштириш // Агро илм, 2017. – № 3 – Б. 102-103.

7. С.Усаров, А.Н.Михайловский. Тик шпиндели пахта териш аппарати учун пахтани ерга тўкилишини камайтирувчи қурилма // Инновацион ғоялар, технологиялар ва лойиҳалар X Республика ярмаркаси банери. – Тошкент, 2017.

8. С.Усаров, А.Н.Михайловский. Тик шпиндели пахта териш машинаси учун пахтани ерга тўкилишини камайтирувчи қурилма // Инновацион ғоялар, технологиялар ва лойихалар 10 республика ярмаркаси . Иновацион ишланма буклети. –Тошкент, 2017. –5 б.

9. Михайловский А.Н. Усаров С. “Система обмыва и очистки шпинделей вертикально-шпиндельной хлопкоуборочной машины”. Патент № FАР 01175, Бюл. № 3, 31.03.2017 г.

10. А.Н.Михайловский, С.Усаров. Об обеспечении стабильности работы вертикально-шпиндельных хлопкоуборочных машин. «Научно-практические пути повышения экологической устойчивости и социально-экономическое обеспечение сельскохозяйственного производства». Международная научно-практическая конференция, посвящённая году экологии в России. Прикаспийский НИИ аридного земледелия. – Соленое Займище, - 2017, С. 1208-1211.

11. Михайловский А.Н., Усаров С. «О стабильности работы вертикально-шпиндельных хлопкоуборочных машин». Международная научно-практическая конференция «Актуальные вопросы в науке и практике», г. Самара., 2018, С. 60-66.

12. Усаров С., Михайловский А.Н. «Совершенствование технологии машинного сбора урожая хлопчатника». Международная научно-практическая конференция «Перспективы развития науки в современном мире», г. Уфа.,- 2018, С. 48-55.

13. Усаров С., Михайловский А.Н. «О технологиях уборки урожая хлопчатника». Международная научно-практическая конференция. «Итоги и перспективы развития агропромышленного комплекса». Прикаспийский НИИ аридного земледелия. – Соленое Займище, - 2018, С. 667-670.

14. Усаров С., Михайловский А.Н. «Некоторые особенности машинной уборки хлопка». Международная научно-практическая конференция. «Итоги и перспективы развития агропромышленного комплекса». Прикаспийский НИИ аридного земледелия. – Соленое Займище, - 2018, С. 660-666.

15. Михайловский А.Н., Усаров С. «Эффективность работы системы копирования рельефа грядок при уборке урожая хлопка». Международная научно-практическая конференция «Инновации в науке и практике», г. Барнаул, 2018. Часть 1. С. 203-209.

16. Усаров С., Михайловский А.Н. “Некоторые результаты усовершенствования технологии уборки урожая хлопка”. “Замонавий тадқиқотлар, инновациялар, техника ва технологияларнинг долзарб муаммолари ва ривожланиш тенденциялари” мавзусидаги Республика миқиёсидаги илмий-техник анжумани материаллари тўплами. – 2-қисм. Джизак, 2018. – Б. 43-46.

17. Ташболтаев М.Т., Усаров С., Михайловский А.Н. “Хлопкоуборочный аппарат”. Патент № FАР 01350, Бюл. № 1, 2019 г.

18. Усаров С., Михайловский А.Н. «К обоснованию некоторых параметров 4-х рядной хлопкоуборочной машины». Международная научно-практическая конференция «Инновации в науке и практике». – Барнаул. – Часть 1, 21.03.2019. – С. 93-99.

19. Ташболтаев М.Т., Усаров С., Михайловский А.Н. “Бункер хлопкоуборочной машины”. Патент № FАР 01383, Бюл. № 6, 2019 г.

20. Усаров С., Михайловский А.Н. «К вопросу разработки многорядных машин». “Замонавий тадқиқотлар, инновациялар, техника ва технологияларнинг долзарб муаммолари ва ривожланиш тенденциялари” мавзусидаги Республика илмий-техник анжуман. – Джизак, 4-5 апрел 2019. – Б. 313-315.

21. Михайловский А.Н., Усаров С. 14-ти шпиндельный барабан-резерв повышения полноты сбора хлопка. Международная научно-практическая конференция «Перспективы развития науки в современном мире», 05.04.2019, Уфа, – Часть 1. – С. 56-61.

22. Усаров С., Михайловский А.Н. О рядности хлопкоуборочных машин. «Таълим сифатини оширишда инновацион таълим технологияларининг ўрни: муаммо ва ечимлар» мавзусидаги Республика миқиёсидаги илмий-амалий конференция материаллари тўплами. – Наманган, 29-30 март 2019. – Б. 181-183.

23. Усаров С., Михайловский А.Н. К созданию 4-х рядной хлопкоуборочной машины для разового сбора хлопка. Материалы 1-й международной научно-практической конференции «Инновационный потенциал развития науки в современном мире: достижения и инновации», 22.04.2019, Уфа, – С. 34-39.

24. Усаров С., Михайловский А.Н. «Об эффективности различных технологий уборки урожая хлопка». Международная научно-практическая конференция. «Итоги и перспективы развития агропромышленного комплекса». Прикаспийский НИИ аридного земледелия. – Соленое Займище, 2019. – С. 542-545.

25. Усаров С., Михайловский А.Н. «Усовершенствованная технология механизированной уборки урожая хлопка». Международная научно-практическая конференция «Интеграция науки и практики в современном мире», г. Уфа, 16.09.2019. – Часть 1. – С. 130-136.

26. Усаров С., Михайловский А.Н. «Полнота сбора и качество хлопка-сырца» // Международная научно-практическая конференция «Перспективы развития науки в современном мире». – Уфа, 20.03.2020. – С. 18-23.

27. Ташболтаев М., Михайловский А.Н., Усаров С. «Устройство для ввода кустов хлопчатника в вертикально-шпиндельный хлопкоуборочный аппарат» // Патент № 01498 от 29.05.2020 г.

28. Усаров С., Михайловский А.Н. «К созданию 4-х рядной хлопкоуборочной машины» // Международная научно-техническая конференция «Проблемы и перспективы инновационной техники и технологий в аграрно-пищевом секторе». – Ташкент, ТашГТУ 24-25 апреля 2020 – С. 145-146.

29. Ташболтаев М., Михайловский А.Н., Усаров С. «Хлопкоуборочный аппарат» // Заявка на полезную модель № FАР 2020 0106, подана в Агентство по электронной почте (письмо № 01/17 – 104 от 22.05.2020 г.).

30. Усаров С., Михайловский А.Н. «О создании и применении 4-х рядных вертикально-шпиндельных хлопкоуборочных машин» // Международная научно-практическая конференция. «Итоги и перспективы развития агропромышленного комплекса». Прикаспийский НИИ аридного земледелия. – Соленое Займище, 21-22 мая 2020. – С. 681-683.

31. Матчанов Р.Д. и др. «Вертикально-шпиндельный хлопкоуборочный аппарат». Заявка на изобретение № IАР 2020 0254 от 17.06.2020 г.

32. Усаров С., Михайловский А.Н. «Об организации работы хлопкоуборочных машин для разового сбора хлопка» // Республика илмий-амалий конференцияси. «Ресурстежамкор ва фермербоп қишлоқ хужалик машиналарини яратиш ва улардан фойдаланиш самарадорлигини ошириш».НИИМСХ. – Гулбахор, 14-15 август 2020. – С. 242-247.

33. Усаров С., Михайловский А.Н. «Влияние ширины рабочей щели уборочного аппарата на полноту сбора хлопка» // Республика илмий-амалий конференцияси. «Ресурстежамкор ва фермербоп қишлоқ хужалик машиналарини яратиш ва улардан фойдаланиш самарадорлигини ошириш». НИИМСХ. – Гулбахор, 14-15 август 2020. – С. 248-253.

34. Ташболтаев М., Михайловский А.Н., Усаров С. «Хлопкоуборочный аппарат» // Положительное решение по заявке на полезную модель № FАР 2019 0172 от 24.07.2020 г.

35. Усаров С., Михайловский А.Н. «О пневмотранспортной системе хлопкоуборочных машин» // Международная научно-практическая конференция «Цели и пути устойчивого экономического развития». – Уфа, 18.09.2020. – С. 6-10.

36. Ризаев А.А., Усаров С. и др. «Влияние направления вращения шпинделя на кинематику рабочей камеры аппарата» // Проблемы механики. – Ташкент, 2020. – № 1-2. – С. 96-99.

37. Ризаев А.А., Усаров С. и др. «Разработка 4-х рядной хлопкоуборочной машины для разового сбора хлопка» // Международная научно-техническая конференция «Проблемы механики». – Самарканд, 26-27 октябрь 2021.– С. …...

38. Усаров С., Михайловский А.Н. «Технология уборки хлопка-сырца вертикально-шпиндельной хлопкоуборочной машиной» // «Машиносозликда инновациялар, энергиятежамкор технологиялар ва ресурслардан фойдаланиш самарадорлигини ошириш» мавзусидаги Халқаро илмий-амалий конференция материаллари тўплами. – Наманган, 28-29 май 2021. – Б. .........

39. Усаров С., Михайловский А.Н. «Хлопкоуборочный аппарат» // Заявка НИИМСХ на полезную модель от 20.11.2021 г.


Лаборатория тарихидан

Пахта теришни механизациялаш бўлимининг олимлар жамоаси, 1978 й.
(ўртада Д.М.Шполянский, техника фанлари доктори, профессор, ЎзССР да хизмат кўрсатган механизатор; чапда – техника фанлари номзодлари Д.Н.Топалиди, С.Усаров, М.Аугамбаев, катта илмий ходим Н.Шагиев; ўнгда – техника фанлари номзодлари Р.И.Спеваков, Ю.И.Атаманов)

Лаборатория ходимлари 2006 й.
ўнгдан чапга А.Худайқулов – техник, Н.А.Куламетов – т.ф.д., профессор, С.Усаров – т.ф.н., Р.И.Спеваков – т.ф.н., А.Н.Михайловский – т.ф.н.)


1978-2014 йиллардаги лаборатория ишланмалари

                 


ЎзҚТТСДМ полигонида МХ-1,8 пахта териш машинасининг синовлари

           


Агротехник тажрибаларини ўтказишда ХНП-1,8 лаборатория-дала қурилмаси

           


60 см қатор оралиғи учун 4-каторли МХ-2,4
пахта териш машинасининг тажриба нусхаси

           


Лаборатория тажрибалари

                 


Лабораториянинг ҳамкорлиги

Ҳозирги кунда лаборатория илмий-тадқиқот ишларини “БМКБ-Агромаш” АЖ, “Янгийўл-Агромаш” МЧЖ, Қишлоқ хўжалик техникалари ва технологияларини сертификациялаш ва синаш Давлат маркази (ТТСМ), “ҚХМКТМ” МЧЖ, ТГТУ ҳузуридаги тармоқ машинасозлиги проблемалари илмий-тадқиқот маркази (НИЦПОМ при ГТУ), ЎзР ФА МИСМИ билан ҳамқорликда олиб бормоқда.


Лабораториянинг истиқболдаги режалари

Лабораторияда ўтказиладиган келгусидаги ишлар тик шпинделли пахта териш машинасининг иш сифатини ошириш, уларнинг иш унумдорлигини кўпайтириш билан боғлиқ вазифаларни ечишга ҳамда пахтани кам нобуд бўлишини ва моддий маблағларни кам сарф қилишни таъминлайдиган истиқболли технологияларни ишлаб чиқишга йўналтирилади.


Ўзгартирилган сана: 07.01.2022